常州新纺检测仪器设备有限公司
纺织品、化纤及塑编行业检测仪器专业制造商
全国服务热线
13401309306
搜索
网站首页
关于我们
新闻中心
公司新闻
行业新闻
产品中心
长丝类测试仪器
短纤类测试仪器
塑编类测试仪器
纱线类测试仪器
织物类测试仪器
无纺类测试仪器
印染类测试仪器
土工类测试仪器
通用类测试仪器
产品目录
售后服务
常见问题
仪器维养
下载中心
软件下载
说明书下载
标准下载
客户案例
人才招聘
联系我们
新闻中心
更多+
公司新闻
行业新闻
行业新闻
您的当前位置:
>
新闻中心
>
行业新闻
>
纱线捻度仪的使用说明
信息来源:本站 | 发布日期: 2019-01-23 21:35 | 浏览量: 次
纱线捻度仪
用于测定各种纱线的捻度。
仪器性能符合新国家标准GB2543.1~GB2543.2-2001 《纺织品 纱线捻度的测定》、国际标准ISO2061《纺织品纱线捻度的测定 直接计数法》和原纺工部标准FJ547《本色气流纺棉纱试验方法》及国家行业标准FZ/T10001《气流纱捻度的测定——退捻加捻法》。
一、 主要技术指标
1、测试范围:各种纱线。
2、纱线张力:有一组砝码可根据纱线的类别进行调整。
3、夹头转速:1000r/min、800r/min、点动慢速。
4、测试长度:25、50、100、200、250、500 mm。
5、测试数量:不大于99次。
6、测试方式: a、直接计数法;
b、一次退捻加捻法;
c、二次退捻加捻法;
d、三次退捻加捻法;
7、测试数据输出方式:
a、显示输出
b、打印输出:每次捻度值Xi;每批平均捻度值Xe;
试验次数Nn;平均捻度以下出现的次数Nl;均方差S;不匀率H;变异系数CV;捻系数α。
8、电源:220V±10%,50Hz。
9、功率:小于25W(主机)
10、使用环境要求:温度20℃±10℃
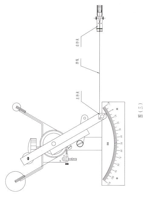
二、 外形图(见图一)
三、 主要结构
本纱线捻度仪主要由控制箱、张力机构、插纱架及数据处理系统等部件组成。
1、 控制箱装有纱夹,各个功能开关,右纱夹由微电机直接带动。
2、 张力机构是采用水平机械式加载张力方法,其张力用砝码按试验方法的要求进行任意调节。
3、 插纱架可由用户自由地安装和调节来满足试验的要求。
4、 数据处理系统主要有机内计算机,显示器及打印机等组成。
四、 仪器的安装与调整
1、 拆开包装时,必须先打开木箱顶盖,再拆除四侧箱板,然后小心取出仪器,插纱架。
2、 搬运仪器时,只允许仪器底座受力,不允许其它部分受力。
3、 仪器必须安放在水平坚固的工作台上,用软布擦干净仪器的外表面,然后在仪器左边放置好插纱架,并将砝码安置在砝码轴上。
4、 仔细检查一下仪器各零部件是否有因运输过程中或拆箱过程中产生的损坏、变形、松动等情况。
5、 移动张力架调整试验长度时应注意在底板底部与张力架相连的导线,不能受力强行拉伸。
6、 仪器应使用有接地良好的电源,同一电源线上不应有频繁起动的电气设备或在电源插头处频繁插拔其它电气设备,仪器周围不得有强磁场干扰。
五、 显示及操作开关说明
如图(二)所示,本仪器面板上有显示器及一组按键,其主要功能如下。
液晶显示屏在打开仪器控制箱后部的开关后,听到“滴滴”开机声并出现欢迎画面,然后按“设置”键,根据标准的要求和工厂的具体要求进行设置、试验方法,选择运转方向(即S向和Z向),选择所需的试验转速、试样长度及试验次数及直接计数法用的预置捻(回)数和试样的线密度。再次按“设置”键,重新返回到欢迎画面,这表示可以夹上纱线进行工作了。在设置试验方法时用向下键进行循环选择“直接计数法”、“一次退捻加捻法”、“二次退捻加捻法”,“三次退捻加捻法”,同样用向下键在设置状态下选择运转方向、试验转速、试样长度。在设置试验次数和直接
计数法用的预置捻(回)数和线密度时用向右键进行循环位选,利用点加向上和点减向下键进行所选设置数字的加减。
清除键
在试验时发现数据异常时,用于剔除本次数据,统计键在做完试验时按下”统计”键直接进行打印,试验数据和统计结果,如未接打印机或打印机缺纸,则可按”浏览”键进入浏览或抄录数据,这时根据液晶屏上的提示,按“加一“键或“减一”键进行浏览数据。
停止键
平时工作时按下此键结束工作并删除当次数据,但在做直接计数法时,按停止键代表一次试验完成在液晶屏上显示本次试验的捻度值。
点加、点减键
在直接计数法时,在右纱夹到达预置捻回数转慢速后按点加或按点减改变右夹头旋转方向。
浏览键
在按”统计”键后按”浏览”键显示浏览对话框,根据提示浏览各次数据,但当未先按”统计”键就按”浏览”键时,这样就不能浏览统计数据。
注意:
做退捻加捻法试验时,按“启动”键听到报警声,说明指针不对零位,面板上零位指示灯也不亮。只有伸长指针对准零位同时零位指示灯亮时才能按启动键开动机器。
六、 仪器的操作程序
1、 正确连接好主机和打印机的通讯线及电源线,合上仪器控制箱后的主机电源开关和打印机电源开关,液晶显示器同时显示欢迎画面。(见图二)
2、 根据试验方法标准的要求选择试验次数、方法、长度、捻向、支数选择好。
3、 用户在加载张力过程中一定要按照有关试验方法标准中的规定,根据不同的纱线类别和纱线的粗细(支数:Tex值)选择适当的专用张力砝码,并将此专用砝码挂于砣上。
4、 调整插架的位置,使纱线在引出时不受到任何意外的损伤,插上待试纱线。
5、 调整移动支承至标准规定的试验长度并拧紧移动承后方的滚花支紧螺钉并调节伸长限位至合适的位置。见图(三)
6、 用右手从插纱架上引出纱线,用左手压下夹线扛杆,将纱线引入左纱夹的导纱轴,然后松开夹线扛杆,释放零位定位架,再用左手捏开右纱夹钳口,调整纱线位置使左夹钳前指针指向零位(压线)时松开右纱夹钳夹紧纱线。
7、 按下“启动”键仪器就自动完成试验,显示器显示本次试验的捻度。
注:如按“启动”键,右夹钳不转动且出现报警蜂鸣,这说明指针未指在“零位”的正确位置上,请立即重新夹线且使指针对准零位,零位对准时,蜂鸣器停止鸣叫。
8、 按照上述方法重新夹上被试验纱线,继续做下次试验直至做完预置的试验次数,蜂鸣器鸣叫提示,然后按“统计”键打印机将打出全部试验数据及其统计结果。
9、 打印机打印完毕后,撕下有数据记录的打印纸,填上日期和试验者姓名,即完成本批试验。
10、 然后可做另一批试验。
11、 做直接计数试验时,首先预置一个捻回数,预置的捻回数应小于设计捻度的15%~20%,然后按上述方法夹紧纱线。
(1) 按“启动”键,当捻回数到达预置数时,右夹钳自动转慢速,然后当纱线接近解捻完毕时可按“点动”键,松开“点动”键,右夹钳停转,如还有个别捻度未解完,则可用手转动右夹钳至纱线全部解捻完毕。
(2) 按下“停止”键,试验数据被确认,显示器显示本次捻度。
(3) 依照上述方法做下次试验,每当做完预置的试验次数时蜂鸣器报警提示,提示本批次试验完成,,然后按“统计”键,打印机打印全部试验数据及数据统计结果,然后撕下有试验数据的打印纸并填上日期和试验者名字。
12、 当不使用打印机时也可做上述试验,只不过数据记录和统计要待试验结束后首先需按“统计”键进行数据统计,按“浏览”键显示器提示按“点加”或“点减”键将顺次显示所有试验的捻度值及统计值(即平均捻度、试验次数、平均以下捻度、平均以下捻度次数、不匀率、均方差、CV%值、捻系值),同时作手工记录即得所需试验数据。
13、 无进一步的试验请关闭电源。
14、 操作注意事项:
(1) 移动支承上的长度指针须正确指向规定的试验长度。
(2) 装夹纱必须正确。
(3) 打印机字体设置在“1”灯亮位置。
(4) 一批试验中不准改变预置试验速度、试验次数、方法、长度、捻向。
七、 一般故障排除
1、 试验中当仪器指针不在零位时,按启动键后,右纱夹不转动并听到蜂鸣器的报警声,当指针在零位再按启动键仍不启动并仍听到报警声,则说明指针下方的霍尔元件不在磁钢的磁场感应范围内,应作相应的调整,使指针在零位时霍尔传感器能感应到磁力并起作用。
2、 当仪器工作状态偏离正常试验状态出现死机时则可按复位键,并检查仪器附近是否有强干扰源存在,如电焊机等以便采取相应的措施。
3、 试验结果如发现有显著差异,则可参照清除键的使用来剔除。
4、 打印机颜色变淡或打不出请换色带并参见打印机说明书。
5、 在试验过程中若发现伸长指针变化异常,应检查一下悬挂张力砝码的线是否嵌在张力盘槽内,若不在槽内,请用手复位。
八、 维护与保养
1、 维修应由专业人员负责,非专业人员不得对仪器的元件随意拆装和调换。
2、 仪器各个位置检测元件出厂前已调试好,平时不能随意变动,若经一定的使用时间后,一些器件发生位置移动或损坏等,应由专业人员加以调整或更换。
附一:
Xe 平均捻度值
Nn 试验次数
Xl 平均值以下的平均值
Nl 平均捻度值以下次数
S 均方差S =
[
n
∑
l=1
(Xl-Xe)
2
]
1/2
N-l
H 平均差不匀率H =
2(Xe-Xl)Nl
×100%
Nn·Xe
CV 变异系数CV =
S
×100%
Xe
α 捻系数α=t(T/1000)
1/2
t:捻度,捻/m
T:纱线线密度,tex
注:老标准计算公式:捻系数α=捻度(捻/10cm)×(纱线公制号数)
1/2
附二:
GB/T 2543.2—2001
《纺织品 纱线捻度的测定》 第2部分:退捻加捻法
10 捻度的测定
10.1 预备程序——允许伸长的确定
本参数对于每批纱线都要单独测定,试样按照标准大气调湿。对于产品的质量控制,可建立内部参考值;
设置隔距长度500mm,调整预加张力到(0.50±0.10)cN/tex。将试样夹持在夹钳中,并将指针置零位。以每分钟800r或更慢的速度转动夹钳,直到纱线中纤维产生明显滑移。读取在断裂瞬间的伸长值,精确到±1mm,如果纱线没有断裂,读取反向再加捻前的最大伸长值。
按照上述方式进行5次试验,计算平均值。
取上述伸长值的25%作为允许伸长的限位位置。
10.2 选择预加张力
10.2.1 除精纺毛纱以外的纱线,预加张力为(0.50±0.10)cN/tex。
10.2.2 对于精纺毛纱,根据捻系数确定预加张力。
当捻系数α<80时,预加张力为(0.10±0.02)cN/tex;
当捻系数α=80~150时,预加张力为(0.25±0.05)cN/tex;
当捻系数α>150时,预加张力为(0.50±0.05)cN/tex。
注:在特定情况下,如果所测捻度比纺纱机所施加的捻度高或低,建议在较高的预加张力下做一些预备试验。捻度试验在适宜的预加张力下进行。
转载请注明出处(纱线捻度仪的使用说明:
[field:arcurl/]
)
上一篇:
涤纶DTY长丝的检验项目及化纤检测仪器
下一篇:
YG141D数字式测厚仪的使用说明
相关文章
2019-01-30
>
化纤长丝物检室常用的检测仪器有
2020-01-02
>
YG461E织物透气量测试仪
2019-05-02
>
YG023B全自动单纱强力机
2019-01-01
>
纤维细度仪怎么测量的?
2019-01-23
>
Y301B条粗侧长机的使用说明
2019-01-18
>
汽车滤芯的透气量仪测试
2020-08-20
>
YG981C-III纤维油脂快速抽出器的
2019-01-17
>
DTM200-2301纱线张力仪的动态张
2018-12-29
>
论长丝的卷曲收缩率测试指标的重
2019-07-17
>
YG026面料缝线滑脱抗滑移强力机
相关产品
YG004单纤维强力机
YG982标准判色灯箱
TES-1310手持式点温仪
SHA系列水浴恒温振荡器
SF-1压差法水分测定仪
UV紫外线老化试验箱
ZRQF-F30J /6006热球风速仪
千分之一天平
Copyright © 2018 常州新纺检测仪器设备有限公司
地址:常州市武进高新区古方路320号 联系人:葛经理 手机:13401309306
Top
咨询热线(TEL)
13401309306
扫一扫微信询价